Through-Hull 1 ¼” chrome messing + 38mm
40.00 €
Chrome-plated, made of dezincification-resistant Brass Alloy 602N.
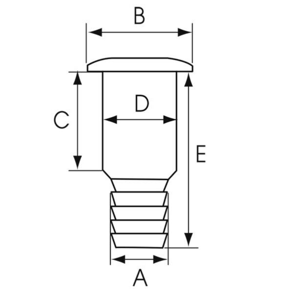
Dimensions:
A: External dimension of the hose connection Ø 38 mm
B: External dimension Ø 64 mm
C: Thread length 50 mm
D: Thread outer diameter 1¼” (Ø 41.8 mm)
E: Total length 80 mm
- Info










